Compartir a través de


Estructuras de NET_BUFFER_LIST clonadas

Un controlador NDIS crea una estructura de NET_BUFFER_LIST clonada a partir de una estructura de NET_BUFFER_LIST existente. La estructura clonada hace referencia a los datos de las estructuras originales. Los controladores pueden usar este tipo de estructura para transferir eficazmente los mismos datos a varias rutas de acceso.

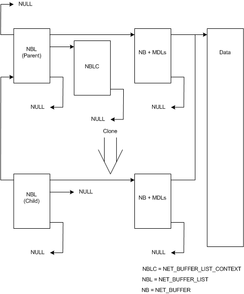
En la ilustración siguiente se muestra la relación entre una estructura de NET_BUFFER_LIST primaria y una estructura secundaria clonada.

Diagrama que muestra la relación entre una estructura de NET_BUFFER_LIST primaria y su estructura secundaria clonada.

La ilustración anterior contiene una estructura de NET_BUFFER_LIST primaria y una estructura secundaria derivada de ese elemento primario. La estructura primaria tiene una estructura NET_BUFFER_LIST_CONTEXT y una estructura NET_BUFFER con MDL adjuntas. El puntero primario de la estructura primaria es NULL que indica que no es una estructura derivada.

La estructura de NET_BUFFER_LIST secundaria tiene una estructura NET_BUFFER con MDL adjuntas. El NET_BUFFER_LIST secundario tiene un puntero a la estructura primaria. El NULL donde un puntero de estructura de NET_BUFFER_LIST_CONTEXT sería indicar que el elemento secundario no tiene ninguna estructura NET_BUFFER_LIST_CONTEXT.

Los controladores llaman a la funciónNdisAllocateCloneNetBufferList para crear una estructura de NET_BUFFER_LIST clonada. NDIS asigna nuevas estructuras de NET_BUFFER y MDL con la estructura de NET_BUFFER_LIST clonada. NDIS no asigna una estructura NET_BUFFER_LIST_CONTEXT para la estructura clonada. Las nuevas estructuras y MDL de NET_BUFFER describen los mismos datos que en la estructura primaria. Los datos no se copian.

Los controladores llaman a la función NdisFreeCloneNetBufferList para liberar una estructura de NET_BUFFER_LIST y todas las estructuras de NET_BUFFER asociadas y cadenas MDL que se asignaron anteriormente mediante una llamada a NdisAllocateCloneNetBufferList.

Estructuras NET_BUFFER_LIST obtenidas